IBD: Group_PowerInput

Gallery
Tutorial
Demonstrates the basic Webel pattern for modelling groups of electronics components that collaborate to perform a clear function.
Click on the image to view it full size

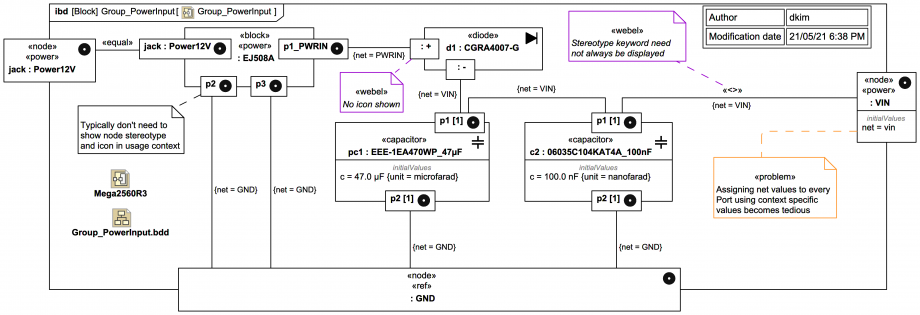
Sometimes showing the stereotypes icons on Ports is too verbose, such as for :+ anode and :- cathode Ports.

The Arduino interactive board viewer tells us there are these components:

Designator Part Number Description
X1EJ508ACONN PWR JACK 2.1X5.5MM SOLDER
D1CGRA4007-GDIODE GEN PURP 1KV 1A DO214AC
PC1EEE-1EA470WP CAP ALUM 47UF 20% 25V SMD
C2 06035C104KAT4A CAP CHIP 0603 100nF 50V X7R 10%

The 12V power jack is handled as a special case. A BindingConnector is used from the internal Port jack:Power12 to the boundary Port jack:Power12 to show that the "physical" contract for plugging in the (hopefully near) 12V power supply has simply been "exported" to the boundary of the group, as indicated by the explicit «equal» keyword. The 12V supply is conditioned to become VIN (which one can see in the previous slide can also be provided "downstream" via header3 side-stepping this conditioning).

It turns out to be quite tedious setting the Context-Specific Values for the 'net' for every Port. It can be made a bit easier by using a direct Property-level default, such as vin for the Port :VIN, where the default "shines through" to the initialValues compartment in the absence of an overriding context-specific value.

Instead the following is used to help track the correction connections:

This may also appear a bit tedious at first, but if you remove the stereotype keyword the tagged value such as { net = VIN } displays quite nicely, and it really does help track the connections when using the Arduino interactive board viewer.

Up next
Notes
Snippets (quotes/extracts)
Related slides (includes other tutorials)
Related slides (backlinks, includes other tutorials)
Visit also
Visit also (backlinks)